Système d'injection diesel à rampe commune

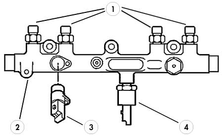
Disposition des différents éléments sur le moteur d'un système d'injection Diesel à rampe commune.
Télécharger ce(s) document(s)
Informations complémentaires
Thèmes et sous-thèmes:
Motorisation, Système d'injection diesel
Origine/source:
Educauto
Type de supports:
Image









