Aller au contenu principal
Centre national de ressources pour la formation automobile
Menu
Actualités
Actualités à la une
Actualités des partenaires
Focus
Ressources
Documentation officielle
Ressources techniques et pédagogiques
Médiathèque
Etudes socio-économiques
Ressources bases de données externes
Ressources académiques
Contributions
Annuaire des liens
Qui sommes-nous ?
Vous êtes ici :
Accueil
/
Médiathèque
/ MCE5
MCE5
Image
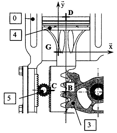
Schéma des éléments constitutifs de moteur MCE-5.
Télécharger ce(s) document(s)
Ressources médiathèque
MCE5
87
2006-u4-07.jpg (82.19 Ko)
Informations complémentaires
Origine/source:
Educauto
Type de supports:
Image