elements_corriges-17.jpg

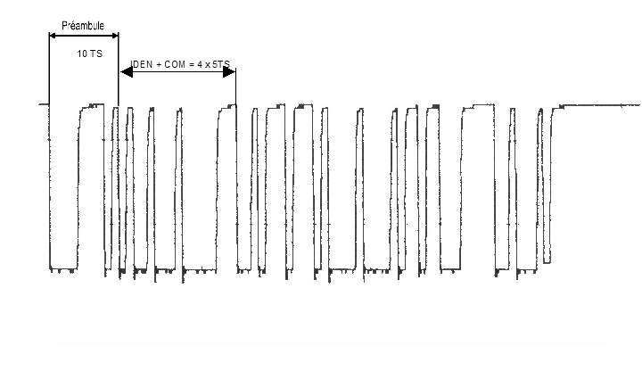
Identification des champs sur une trame VAN avec traduction de l\'identifiant et des données.
Télécharger ce(s) document(s)
Informations complémentaires
Thèmes et sous-thèmes:
Multiplexage - réseau, Electricité- Electronique
Origine/source:
Educauto
Type de supports:
Image









