Aller au contenu principal
Centre national de ressources pour la formation automobile
Menu
Actualités
Actualités à la une
Actualités des partenaires
Focus
Ressources
Documentation officielle
Ressources techniques et pédagogiques
Médiathèque
Etudes socio-économiques
Ressources bases de données externes
Ressources académiques
Contributions
Annuaire des liens
Qui sommes-nous ?
Vous êtes ici :
Accueil
/
Médiathèque
/ sujet-09-1.jpg
sujet-09-1.jpg
Image
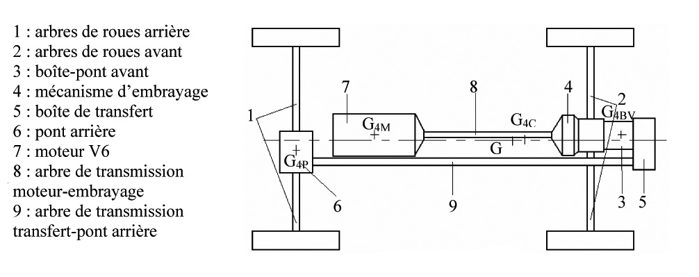
Schéma d\'une transmission d\'un véhicule 4RM.
Télécharger ce(s) document(s)
Ressources médiathèque
sujet-09-1.jpg
813
sujet-09-1.jpg (84.71 Ko)
Informations complémentaires
Thèmes et sous-thèmes:
Pont - Différentiel - Visco coupleur, Transmission
Origine/source:
Educauto
Type de supports:
Image
Ressources similaires
Ressources médiathèque
sujet-11.jpg
sujet-11.jpg (112.72 Ko)
Ressources médiathèque
sujet-09-1.jpg
sujet-09-1.jpg (106.84 Ko)
Ressources médiathèque
sujet-06.jpg
sujet-06.jpg (54.43 Ko)
Ressources médiathèque
sujet-13-2.jpg
sujet-13-2.jpg (86.79 Ko)
Ressources médiathèque
MAVA_MECA_99-03-2.jpg
mava_meca_99-03-2.jpg (44.15 Ko)
Ressources médiathèque
sujet-17.jpg
sujet-17.jpg (108 Ko)