Aller au contenu principal
Centre national de ressources pour la formation automobile
Menu
Actualités
Actualités à la une
Actualités des partenaires
Focus
Ressources
Documentation officielle
Ressources techniques et pédagogiques
Médiathèque
Etudes socio-économiques
Ressources bases de données externes
Ressources académiques
Contributions
Annuaire des liens
Qui sommes-nous ?
Vous êtes ici :
Accueil
/
Médiathèque
/ schema_bloc.gif
schema_bloc.gif
Image
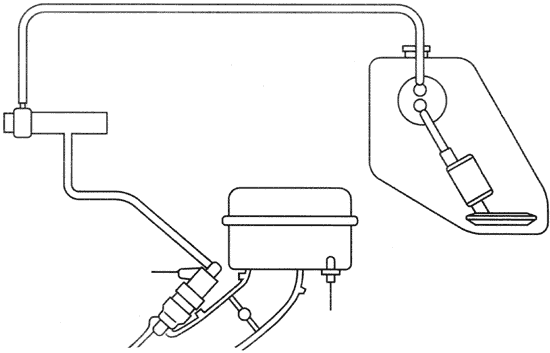
Schéma bloc fonctionnelle de la régulation de la richesse.
Télécharger ce(s) document(s)
Ressources médiathèque
schema_bloc.gif
574
schema_bloc.gif (12.99 Ko)
Informations complémentaires
Thèmes et sous-thèmes:
Système d'injection GPL GNV, Motorisation
Origine/source:
Educauto
Type de supports:
Image
Ressources similaires
Ressources médiathèque
circuit_ess_03.gif
circuit_ess_03.gif (8.29 Ko)
Ressources médiathèque
circuit_ess_02.gif
circuit_ess_02.gif (15.41 Ko)
Ressources médiathèque
Travail-10.jpg
travail-10.jpg (102.06 Ko)
Ressources médiathèque
circuit_ess_04.gif
circuit_ess_04.gif (37.62 Ko)
Ressources médiathèque
pazapa.gif
pazapa.gif (12.67 Ko)
Ressources médiathèque
regul_3.gif
regul_3.gif (36.72 Ko)